
Bi-Color Split: Faceting Design Diagram
An informational guide on Faceting Designs. A Faceting Design Diagram by Jeff R. Graham that presents various cuts, this one is called "Bi-Color Split".
Tourmaline (Achroite, Dravite, Rubellite, Indicolite, Verdelite, Siberite)

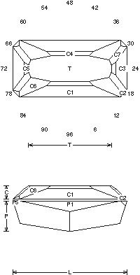
Bi-Color Split (TLINE66.JRG)
By Jeff R. Graham
Copyright 1998
83% Light Return
Angles for R.I. = 1.62
33 facets + 8 facets on girdle = 41
2-fold, mirror-image symmetry
96 index
L/W = 2.000 T/W = 1.446 T/L = 0.723
P/W = 0.536 C/W = 0.236
H/W = (P+C)/W+0.02 = 0.793
P/H = 0.677 C/H = 0.298
Vol./W^3 = 0.855
Addition # 3 - Thanks to a friend of mine named Paul I got this idea from him (with his permission) and put my own spin on it. This design is for bi-colored Tourmaline, it flashes from the middle to the edge depending on how it's rocked, 1-24cts.
![]()
Random - Cosine - ISO
Detailed faceting instructions by Jeff Graham available at The Rock Peddler
Related Articles

Tourmaline Gem, Price, and Jewelry Information

Siberite Tourmaline Material

What is Gemstone Pleochroism?

Mint Tourmalines: Gemstones for Our Times
Latest Articles

800 Years of Mogok: A Celebration in Tenuous Times

What is the Average Gemstone Faceting Yield?

Pyroxmangite Value, Price, and Jewelry Information

How to Identify Emerald Simulants and Synthetics

Never Stop Learning
When you join the IGS community, you get trusted diamond & gemstone information when you need it.





