
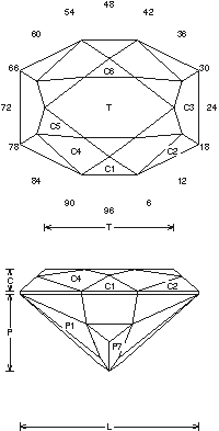
Liner: Faceting Design Diagram
Tourmaline (Achroite, Dravite, Rubellite, Indicolite, Verdelite, Siberite)

Liner (B3.JRG)
By Jeff R. Graham
Copyright 2001
88.8% Light Return
Angles for R.I. = 1.62
41 facets + 8 facets on girdle = 49
2-fold, mirror-image symmetry
96 index
L/W = 1.330 T/W = 0.961 T/L = 0.722
P/W = 0.572 C/W = 0.160
H/W = (P+C)/W+0.02 = 0.752
P/H = 0.760 C/H = 0.213
Vol./W^3 = 0.402
Addition # 5 - This is a "Money Cut"… It's fast to cut with a low number of facets and high performance. This can be cut in R.I. 1.62 to 1.93 with no changes.
![]()
Random - Cosine - ISO
Detailed faceting instructions by Jeff Graham available at The Rock Peddler
Related Articles

Tourmaline Gem, Price, and Jewelry Information

A View of the Quartzsite Gem Shows

How Do Tourmalines Form?

A Look at African Paraíba Tourmaline Rough
Latest Articles

800 Years of Mogok: A Celebration in Tenuous Times

What is the Average Gemstone Faceting Yield?

Pyroxmangite Value, Price, and Jewelry Information

How to Identify Emerald Simulants and Synthetics

Never Stop Learning
When you join the IGS community, you get trusted diamond & gemstone information when you need it.





