
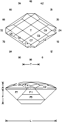
Nifty Swifty: Faceting Design Diagram
Successful tips and guide on Faceting Designs. A Faceting Design Diagram by Jeff R. Graham that presents various cuts, this one is called "Nifty Swifty".
Tourmaline (Achroite, Dravite, Rubellite, Indicolite, Verdelite, Siberite)

Nifty Swifty (CHECK61.JRG)
By Jeff R. Graham
Copyright 2003
88.1% Light Return
Angles for R.I. = 1.62
41 facets + 8 facets on girdle = 49
2-fold, mirror-image symmetry
96 index
L/W = 1.500 T/W = 0.495 T/L = 0.330
P/W = 0.437 C/W = 0.172
H/W = (P+C)/W+0.02 = 0.629
P/H = 0.694 C/H = 0.274
Vol./W^3 = 0.345
Addition # 8 - This works well in almost any Tourmaline. You may need to adjust the crown a bit depending on how you cut in C6. Hint: Leave C3 at a higher angle, cut the crown and then take up the slack if any.
![]()
Random - Cosine - ISO
Detailed faceting instructions by Jeff Graham available at The Rock Pei, lasr
Related Articles

Tourmaline Gem, Price, and Jewelry Information

Trapiche Gems: An Introduction

Mined in America: Top Spots for Gem Hunting in the US

A View of the Quartzsite Gem Shows
Latest Articles

800 Years of Mogok: A Celebration in Tenuous Times

What is the Average Gemstone Faceting Yield?

Pyroxmangite Value, Price, and Jewelry Information

How to Identify Emerald Simulants and Synthetics

Never Stop Learning
When you join the IGS community, you get trusted diamond & gemstone information when you need it.





