
Successful tips and guide on Faceting Designs. Faceting Design Diagram by Jeff R. Graham that presents various cuts, this one is called "Topaz Crystall II"
Topaz (Swiss, Electric, London Blue, Imperial, White, Yellow, Pink, Champange)

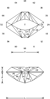
Topaz Crystal II (TOPAZ2.JRG)
By Jeff R. Graham
Copyright 1993
74% Light Return
Angles for R.I. = 1.62
53 facets + 8 facets on girdle = 61
2-fold, mirror-image symmetry
96 index
L/W = 1.450 T/W = 1.061 T/L = 0.732
P/W = 0.419 C/W = 0.178
H/W = (P+C)/W+0.02 = 0.616
P/H = 0.680 C/H = 0.288
Vol./W^3 = 0.290
Gram Book 1 - Another design for topaz crystal shapes, Champagne or pinkish (Mexican). No point for cleavage breaks, and close to natural shape for low waste. This design makes a nice cut with good return, 1-6cts. (not easy to do!)
![]()
Random - Cosine - ISO
Detailed faceting instructions by Jeff Graham available at The Rock Peddler









When you join the IGS community, you get trusted diamond & gemstone information when you need it.

Topaz (Swiss, Electric, London Blue, Imperial, White, Yellow, Pink, Champange)

Topaz Crystal II (TOPAZ2.JRG)
By Jeff R. Graham
Copyright 1993
74% Light Return
Angles for R.I. = 1.62
53 facets + 8 facets on girdle = 61
2-fold, mirror-image symmetry
96 index
L/W = 1.450 T/W = 1.061 T/L = 0.732
P/W = 0.419 C/W = 0.178
H/W = (P+C)/W+0.02 = 0.616
P/H = 0.680 C/H = 0.288
Vol./W^3 = 0.290
Gram Book 1 - Another design for topaz crystal shapes, Champagne or pinkish (Mexican). No point for cleavage breaks, and close to natural shape for low waste. This design makes a nice cut with good return, 1-6cts. (not easy to do!)
![]()
Random - Cosine - ISO
Detailed faceting instructions by Jeff Graham available at The Rock Peddler