
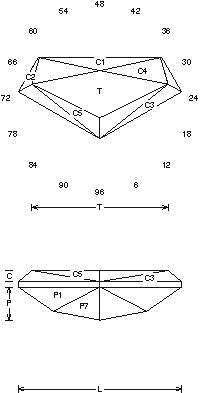
“CC” Pounded Shield: Faceting Design Diagram
Detailed information and guide for Faceting Design Diagrams. This facet design is called a " "CC" Pounded Shield". This is not easy, it takes experience.
Tourmaline (Achroite, Dravite, Rubellite, Indicolite, Verdelite, Siberite)

"CC" Pounded Shield (MC27.JRG)
By Jeff R. Graham
Copyright 1998
82.1 % Light Return
Angles for R.I. = 1.62
18 facets + 5 facets on girdle = 23
1-fold, mirror-image symmetry
96 index
L/W = 2.000 T/W = 1.667 T/L = 0.834
P/W = 0.405 C/W = 0.137
H/W = (P+C)/W+0.02 = 0.562
P/H = 0.720 C/H = 0.244
Vol./W^3 = 0.425
Addition # 4 - This is not easy, it takes experience, I designed it as a necklace stone and usually use trillions on the short ends. It can be cut in another order, it has a nice "V" shaped flash when rocked, any material 1cts+. NOTE: Omit P8 if cutting a small stone.
![]()
Random - Cosine - ISO
Detailed faceting instructions by Jeff Graham available at The Rock Peddler
Related Articles

Tourmaline Gem, Price, and Jewelry Information

A Look at African Paraíba Tourmaline Rough

A View of the Quartzsite Gem Shows

Mined in America: Top Spots for Gem Hunting in the US
Latest Articles

800 Years of Mogok: A Celebration in Tenuous Times

What is the Average Gemstone Faceting Yield?

Pyroxmangite Value, Price, and Jewelry Information

How to Identify Emerald Simulants and Synthetics

Never Stop Learning
When you join the IGS community, you get trusted diamond & gemstone information when you need it.





