
Di-Ag Opposed: Faceting Design Diagram
Successful tips and guide on Faceting Designs. A Faceting Design Diagram by Jeff R. Graham that presents various cuts, this one is called "Di-Ag Opposed".
Tourmaline (Achroite, Dravite, Rubellite, Indicolite, Verdelite, Siberite)

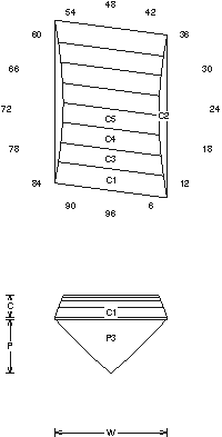
Di-Ag Opposed (MC12.JRG) ![]()
By Jeff R. Graham
Copyright 1999
87.1% Light Return
Angles for R.I. = 1.62
18 facets + 4 facets on girdle = 22
2-fold symmetry
96 index
L/W = 1.593 P/W = 0.485 C/W = 0.200
H/W = (P+C)/W+0.02 = 0.704
P/H = 0.688 C/H = 0.283
Vol./W^3 = 0.545
Addition # 4 - This is a nice change of pace, it cuts with no surprises I like it in about any material, especially the darker green crystal Tourmaline. The ends are steep for dark "c" axis. I nick the tips so they are not real sharp. this works in Topaz also… Cut this in R.I. 1.62 to 1.76 without changes.
![]()
Random - Cosine - ISO
Detailed faceting instructions by Jeff Graham available at The Rock Peddler


