
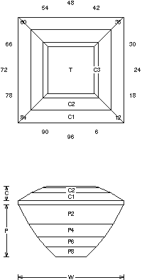
Est #1: Faceting Design Diagram
Detailed information and guide on Faceting Designs. A Faceting Design Diagram by Jeff R. Graham that presents various cuts, this one is called "Est #1".
Tourmaline (Achroite, Dravite, Rubellite, Indicolite, Verdelite, Siberite)

Est #1 (TLINE51.JRG)
By Jeff R. Graham
Copyright 1998
81% Light Return
Angles for R.I. = 1.62
29 facets + 4 facets on girdle = 33
2-fold, mirror-image symmetry
96 index
L/W = 1.000 T/W = 0.444 T/L = 0.444
P/W = 0.495 C/W = 0.139
H/W = (P+C)/W+0.02 = 0.654
P/H = 0.757 C/H = 0.212
Vol./W^3 = 0.336
Addition # 3 - This cuts like a pretty standard step cut. The only different thing about it is the high light return. Try it in a good med color tourmaline of about any color, 1-18cts. Can be cut as a rectangle any L/W, put the "c" axis on Tourmaline on the steep ends… Cut in refractive indexes 1.62 to 2.14 with no changes.
![]()
Random - Cosine - ISO
Detailed faceting instructions by Jeff Graham available at The Rock Peddler
Related Articles

Tourmaline Gem, Price, and Jewelry Information

Gemstone Examination Lesson

What is the Usambara Effect In Gemstones?

Verdelite (Green Tourmaline) Buying Guide
Latest Articles

800 Years of Mogok: A Celebration in Tenuous Times

What is the Average Gemstone Faceting Yield?

Pyroxmangite Value, Price, and Jewelry Information

How to Identify Emerald Simulants and Synthetics

Never Stop Learning
When you join the IGS community, you get trusted diamond & gemstone information when you need it.





