
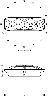
Kiss’n Fish: Faceting Design Diagram
Successful tips and guide on Faceting Designs. A Faceting Design Diagram by Jeff R. Graham that presents various cuts, this one is called "Kiss'n Fish".
Tourmaline (Achroite, Dravite, Rubellite, Indicolite, Verdelite, Siberite)

Kiss'n Fish (CHECK65.JRG)
By Jeff R. Graham
Copyright 2003
76% Light Return
Angles for R.I. = 1.62
31 facets + 8 facets on girdle = 39
2-fold, mirror-image symmetry
96 index
L/W = 3.010 T/W = 0.945 T/L = 0.314
P/W = 0.450 C/W = 0.327
H/W = (P+C)/W+0.02 = 0.797
P/H = 0.564 C/H = 0.411
Vol./W^3 = 1.341
Addition # 8 - This is designed for long narrow Tourmaline crystals, and makes a nice stone in about any material. I use it for the occasional multi-colored long crystals I come across. This is fairly simple but the keel can be tough to polish because of it's length. Cut this in refractive indexes 1.62 to 2.14 with no changes.
![]()
Random - Cosine - ISO
Detailed faceting instructions by Jeff Graham available at The Rock Peddler
Related Articles

Tourmaline Gem, Price, and Jewelry Information

Mined in America: Top Spots for Gem Hunting in the US

Gemstone Examination Lesson

A Faceter’s Guide to Rough Gem Stress
Latest Articles

800 Years of Mogok: A Celebration in Tenuous Times

What is the Average Gemstone Faceting Yield?

Pyroxmangite Value, Price, and Jewelry Information

How to Identify Emerald Simulants and Synthetics

Never Stop Learning
When you join the IGS community, you get trusted diamond & gemstone information when you need it.





