
Pat’s Points: Faceting Design Diagram
Successful tips and guide on Faceting Designs. A Faceting Design Diagram by Jeff R. Graham that presents various cuts, this one is called "Pat's Points".
Tourmaline (Achroite, Dravite, Rubellite, Indicolite, Verdelite, Siberite)

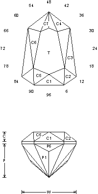
Pat's Points (MC16.JRG)
By Jeff R. Graham ![]()
Copyright 1999
75.9% Light Return
Angles for R.I. = 1.62
35 facets + 7 facets on girdle = 42
1-fold, mirror-image symmetry
96 index
L/W = 1.330 T/W = 0.844 T/L = 0.635
P/W = 0.614 C/W = 0.172
H/W = (P+C)/W+0.02 = 0.805
P/H = 0.762 C/H = 0.213
Vol./W^3 = 0.416
Addition # 4 - This is designed to be used in sets, it cuts pretty easy and has a nice flash. It works well around a square or trillion. Cut in about any material, I prefer medium color, 1/2ct and up. This works in Topaz… Cut this in R.I. 1.62 to 2.14 without changes.
![]()
Random - Cosine - ISO
Detailed faceting instructions by Jeff Graham available at The Rock Peddler
Related Articles

Tourmaline Gem, Price, and Jewelry Information

How Do Tourmalines Form?

What is the Usambara Effect In Gemstones?

A View of the Quartzsite Gem Shows
Latest Articles

800 Years of Mogok: A Celebration in Tenuous Times

What is the Average Gemstone Faceting Yield?

Pyroxmangite Value, Price, and Jewelry Information

How to Identify Emerald Simulants and Synthetics

Never Stop Learning
When you join the IGS community, you get trusted diamond & gemstone information when you need it.





