
Successful tips, details and guide on Faceting Designs.Faceting Design Diagram by Jeff R. Graham that presents various cuts, this one is called "Point "R" "
Garnet (Pyrope, Rhodolite, Almandine, Spessartite, Grossular, Demantoid, Tsavorite)

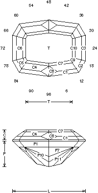
Point "R" (GNETP27.JRG)
By Jeff R. Graham
Copyright 1995
81.1% Light Return
Angles for R.I. = 1.73
71 facets + 10 facets on girdle = 81
2-fold, mirror-image symmetry
96 index
L/W = 1.290 T/W = 0.833 T/L = 0.646
P/W = 0.454 C/W = 0.173
H/W = (P+C)/W+0.02 = 0.647
P/H = 0.701 C/H = 0.268
Vol./W^3 = 0.361
Gram Book 1 - This design is not easy, watch the P7-13 they can be a little tricky. They also could be cut in a different order if you want. P13 can be omitted on a small stone. The crown is mostly steps and they can be varied, but the table & C8 may need to be adjusted,1-14cts. This works in Sapphire and YAG.
![]()
Random - Cosine - ISO
Detailed faceting instructions by Jeff Graham available at The Rock Peddler








When you join the IGS community, you get trusted diamond & gemstone information when you need it.

Garnet (Pyrope, Rhodolite, Almandine, Spessartite, Grossular, Demantoid, Tsavorite)

Point "R" (GNETP27.JRG)
By Jeff R. Graham
Copyright 1995
81.1% Light Return
Angles for R.I. = 1.73
71 facets + 10 facets on girdle = 81
2-fold, mirror-image symmetry
96 index
L/W = 1.290 T/W = 0.833 T/L = 0.646
P/W = 0.454 C/W = 0.173
H/W = (P+C)/W+0.02 = 0.647
P/H = 0.701 C/H = 0.268
Vol./W^3 = 0.361
Gram Book 1 - This design is not easy, watch the P7-13 they can be a little tricky. They also could be cut in a different order if you want. P13 can be omitted on a small stone. The crown is mostly steps and they can be varied, but the table & C8 may need to be adjusted,1-14cts. This works in Sapphire and YAG.
![]()
Random - Cosine - ISO
Detailed faceting instructions by Jeff Graham available at