
Ralph’s Byte: Faceting Design Diagram
Successful tips and guide on Faceting Designs. A Faceting Design Diagram by Jeff R. Graham that presents various cuts, this one is called "Ralph's Byte".
Feldspar (Sunstone, Orthoclase, Bytownite, Labardorite, Aventurine)

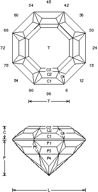
Ralph's Byte (BYTE1.JRG)
by Jeff R. Graham
Copyright 1994
75% Light Return
Angles for R.I. = 1.54
97 facets + 8 facets on girdle = 105
8-fold, mirror-image symmetry
96 index
L/W = 1.000 T/W = 0.555 T/L = 0.555
P/W = 0.489 C/W = 0.173
H/W = (P+C)/W+0.02 = 0.682
P/H = 0.717 C/H = 0.254
Vol./W^3 = 0.260
Addition # 1 - This design is a little hard to cut. The steps on the bottom are about even, the top steps get smaller as they go to the table. The steps can be cut to your own taste, 1-16cts. Cut in refractive indexes 1.54 to 1.93 (83.9%) with no changes. This cuts well in Beryl, Feldspar (Sunstone),and Topaz.
![]()
Random - Cosine - ISO
Detailed faceting instructions by Jeff Graham available at The Rock Peddler
Related Articles

Bytownite Value, Price, and Jewelry Information

Orthoclase Value, Price, and Jewelry Information

Feldspar Value, Price, and Jewelry Information

A View of the Quartzsite Gem Shows
Latest Articles

800 Years of Mogok: A Celebration in Tenuous Times

What is the Average Gemstone Faceting Yield?

Pyroxmangite Value, Price, and Jewelry Information

How to Identify Emerald Simulants and Synthetics

Never Stop Learning
When you join the IGS community, you get trusted diamond & gemstone information when you need it.





