
Straight Sides: Faceting Design Diagram
Successful tips and guide on Faceting Designs. A Faceting Design Diagram by Jeff R. Graham that presents various cuts, this one is called "Straight Sides".
Garnet (Pyrope, Rhodolite, Almandine, Spessartite, Grossular, Demantoid, Tsavorite)

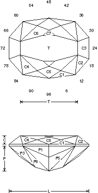
Straight Sides (GNETP30A.JRG)
By Jeff R. Graham
Copyright 1996
80% Light Return
Angles for R.I. = 1.73
45 facets + 10 facets on girdle = 55
2-fold, mirror-image symmetry
96 index
L/W = 1.330 T/W = 0.959 T/L = 0.721
P/W = 0.414 C/W = 0.145
H/W = (P+C)/W+0.02 = 0.579
P/H = 0.715 C/H = 0.250
Vol./W^3 = 0.310
Gram Book 1 - This design cuts fast and mid-easy for an oval. The P7-P9 can be cut in another order if you want. It has nice flash and is good for darker material, 1-8cts. Works in man-made Sapphire and Spinel.
![]()
Random - Cosine - ISO
Detailed faceting instructions by Jeff Graham available at The Rock Peddler
Related Articles

Garnet Value, Price, and Jewelry Information

Red and More: Choosing Garnet Engagement Ring Stones

Angles for Cutting Garnets

Faceted Gemstones And Light Return Measurements
Latest Articles

800 Years of Mogok: A Celebration in Tenuous Times

What is the Average Gemstone Faceting Yield?

Pyroxmangite Value, Price, and Jewelry Information

How to Identify Emerald Simulants and Synthetics

Never Stop Learning
When you join the IGS community, you get trusted diamond & gemstone information when you need it.





