
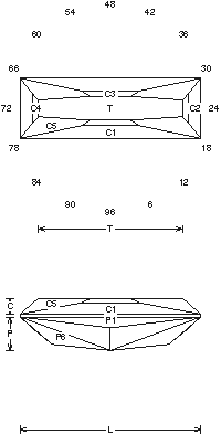
“Streeech” : Faceting Design Diagram
Successful tips, details and guide on Faceting Designs. Faceting Design Diagram by Jeff R. Graham that presents various cuts, this one is called "Streeech"
Tourmaline (Achroite, Dravite, Rubellite, Indicolite, Verdelite, Siberite)

"Streeech" (TLINE24.JRG)
By Jeff R. Graham
Copyright 1998
72% Light Return
Angles for R.I. = 1.62
29 facets + 4 facets on girdle = 33
2-fold, mirror-image symmetry 96 index
L/W = 3.000 T/W = 2.394 T/L = 0.798
P/W = 0.557 C/W = 0.259
H/W = (P+C)/W+0.02 = 0.836
P/H = 0.666 C/H = 0.310
Vol./W^3 = 1.362
Addition # 3 - Cut a 3.0 L/W preform. I get tired of cutting steps in long Tourmaline crystals, so here is what I do. The crown can be cut as low as 32 (subtract 10 from each of the crown tiers). Open "c" is best, 1-18cts.
![]()
Random - Cosine - ISO
Detailed faceting instructions by Jeff Graham available at The Rock Peddler
Related Articles

Tourmaline Gem, Price, and Jewelry Information

Blue Tourmaline (Indicolite) Buying Guide

Tourmaline Buying Guide

Siberite Tourmaline Material
Latest Articles

800 Years of Mogok: A Celebration in Tenuous Times

What is the Average Gemstone Faceting Yield?

Pyroxmangite Value, Price, and Jewelry Information

How to Identify Emerald Simulants and Synthetics

Never Stop Learning
When you join the IGS community, you get trusted diamond & gemstone information when you need it.





