
Trapper Check: Faceting Design Diagram
Successful tips and guide on Faceting Designs. A Faceting Design Diagram by Jeff R. Graham that presents various cuts, this one is called "Trapper Check".
Tourmaline (Achroite, Dravite, Rubellite, Indicolite, Verdelite, Siberite)

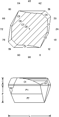
Trapper Check (CHECK7.JRG) ![]()
By Jeff R. Graham
Copyright 2001
81.7% Light Return
Angles for R.I. = 1.62
27 facets + 8 facets on girdle = 35
2-fold symmetry
96 index
L/W = 1.160 T/W = 0.849 T/L = 0.731
P/W = 0.466 C/W = 0.179
H/W = (P+C)/W+0.02 = 0.665
P/H = 0.701 C/H = 0.269
Vol./W^3 = 0.378
Addition # 6 - This is an odd one… It can be adapted to almost any L/W and I originally designed it for a bi-color. This is not a standard shape for setting, but in most cases should not be a problem.
![]()
Random - Cosine - ISO
Detailed faceting instructions by Jeff Graham available at The Rock Peddler
Related Articles

Tourmaline Gem, Price, and Jewelry Information

What is the Usambara Effect In Gemstones?

A Look at African Paraíba Tourmaline Rough

Mined in America: Top Spots for Gem Hunting in the US
Latest Articles

800 Years of Mogok: A Celebration in Tenuous Times

What is the Average Gemstone Faceting Yield?

Pyroxmangite Value, Price, and Jewelry Information

How to Identify Emerald Simulants and Synthetics

Never Stop Learning
When you join the IGS community, you get trusted diamond & gemstone information when you need it.





