
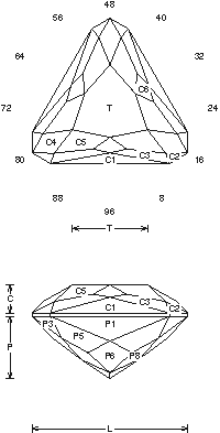
Tri-Angled Triangle: Faceting Design Diagram
Details, tips, and guide on Faceting Designs. Faceting Design Diagram by Jeff R. Graham that presents various cuts, this one is called "Tri-Angled Triangle"
Garnet (Pyrope, Rhodolite, Almandine, Spessartite, Grossular, Demantoid, Tsavorite)

Tri-Angled Triangle (GNETP18.JRG)
By Jeff R. Graham
Copyright 1993
78.1% Light Return
Angles for R.I. = 1.73
61 facets + 9 facets on girdle = 70
3-fold, mirror-image symmetry
96 index
L/W = 1.071 T/W = 0.517 T/L = 0.483
P/W = 0.429 C/W = 0.193
H/W = (P+C)/W+0.02 = 0.642
P/H = 0.668 C/H = 0.301
Vol./W^3 = 0.217
Gram 1 - This stone has better light return than the 80% that it shows. It works best when it is cut in light material, 1-8cts. This works well in Spinel, Sapphire and YAG.
![]()
Random - Cosine - ISO
Detailed faceting instructions by Jeff Graham available at The Rock Peddler
Related Articles

Garnet Value, Price, and Jewelry Information

How Do Garnets Form?

Angles for Cutting Garnets

Identifying Garnets Simplified
Latest Articles

800 Years of Mogok: A Celebration in Tenuous Times

What is the Average Gemstone Faceting Yield?

Pyroxmangite Value, Price, and Jewelry Information

How to Identify Emerald Simulants and Synthetics

Never Stop Learning
When you join the IGS community, you get trusted diamond & gemstone information when you need it.





