
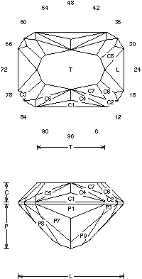
Mask Rectangle: Faceting Design Diagram
Successful tips and guide on Faceting Designs. A Faceting Design Diagram by Jeff R. Graham that presents various cuts, this one is called "Mask Rectangle".
Quartz (Amethyst, Citrine, Ametrine, Smokey, Rose)

Mask Rectangle (QTZ43.JRG)
By Jeff R. Graham
Copyright 1995
70% Light Return
Angles for R.I. = 1.54
61 facets + 12 facets on girdle = 73
2-fold, mirror-image symmetry
96 index L/W = 1.402
T/W = 0.900 T/L = 0.642
P/W = 0.596 C/W = 0.259
H/W = (P+C)/W+0.02 = 0.875
P/H = 0.681 C/H = 0.296
Vol./W^3 = 0.545
Gram Book 1 - The P10,P11,P12 facets can be cut in another order if you want. I thought this would work best, because once the girdle is cut the others meet it and can be cheated, so long as they are even… This is a hard one to cut the first couple of times, once you get it, it's easier. This works in Tourmaline and Topaz. Not for the novice…
![]()
Random - Cosine - ISO
Detailed faceting instructions by Jeff Graham available at The Rock Peddler
Related Articles

Rose Quartz Value, Price, and Jewelry Information

Ametrine Value, Price, and Jewelry Information

Amethyst Gem, Price, and Jewelry Information

Citrine Value, Price, and Jewelry Information
Latest Articles

800 Years of Mogok: A Celebration in Tenuous Times

What is the Average Gemstone Faceting Yield?

Pyroxmangite Value, Price, and Jewelry Information

How to Identify Emerald Simulants and Synthetics

Never Stop Learning
When you join the IGS community, you get trusted diamond & gemstone information when you need it.





