
Mock Emerald: Faceting Design Diagram
Successful tips and guide on Faceting Designs. A Faceting Design Diagram by Jeff R. Graham that presents various cuts, this one is called "Mock Emerald".
Quartz (Amethyst, Citrine, Ametrine, Smokey, Rose)

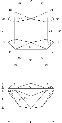
Mock Emerald (MC33.JRG)
By Jeff R. Graham
Copyright 1999
82.7% Light Return
Angles for R.I. = 1.54
33 facets + 8 facets on girdle = 41
2-fold, mirror-image symmetry
96 index
L/W = 1.250 T/W = 0.884 T/L = 0.708
P/W = 0.499 C/W = 0.143
H/W = (P+C)/W+0.02 = 0.662
P/H = 0.754 C/H = 0.216
Vol./W^3 = 0.409
Addition # 4 - This is designed to set like a standard 8x10mm Emerald cut but has better yield and more brilliance. Cut in about any material, 1ct+. Works in Tourmaline and Topaz. Cut this in R.I. 1.54 to 1.76 983.3%) without changes.
![]()
Random - Cosine - ISO
Detailed faceting instructions by Jeff Graham available at The Rock Peddler
Related Articles

Rose Quartz Value, Price, and Jewelry Information

Ametrine Value, Price, and Jewelry Information

Amethyst Gem, Price, and Jewelry Information

Emerald Value, Price, and Jewelry Information
Latest Articles

800 Years of Mogok: A Celebration in Tenuous Times

What is the Average Gemstone Faceting Yield?

Pyroxmangite Value, Price, and Jewelry Information

How to Identify Emerald Simulants and Synthetics

Never Stop Learning
When you join the IGS community, you get trusted diamond & gemstone information when you need it.





