
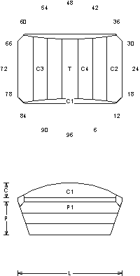
Successful tips and guide on Faceting Designs. A Faceting Design Diagram by Jeff R. Graham that presents various cuts, this one is called "Opposed Bar 1.50"









When you join the IGS community, you get trusted diamond & gemstone information when you need it.

Tourmaline (Achroite, Dravite, Rubellite, Indicolite, Verdelite, Siberite)

Opposed Bar 1.50 (MC22.JRG) ![]()
By Jeff R. Graham
Copyright 1999
88.4% Light Return
Angles for R.I. = 1.62
17 facets + 8 facets on girdle = 25
2-fold, mirror-image symmetry
96 index
L/W = 1.500 T/W = 0.862 T/L = 0.575
P/W = 0.482 C/W = 0.212
H/W = (P+C)/W+0.02 = 0.714
P/H = 0.675 C/H = 0.297
Vol./W^3 = 0.634
Addition # 4 - This cut easy and can be almost any L/W with no changes. It works well in Tourmaline that is dark or closed on the "c" axis. You can cut the corners in or leave them pointed, 1cts and up… NOTE: P5 is optional. Cut this in R.I. 1.62 to 1.76 without changes.
![]()
Random - Cosine - ISO
Detailed faceting instructions by Jeff Graham available at