
Astor Star: Faceting Design Diagram
Detailed information and guide on Faceting Designs. A Faceting Design Diagram by Jeff R. Graham that presents various cuts, this one is called "Astor Star".
Quartz (Amethyst, Citrine, Ametrine, Smokey, Rose)

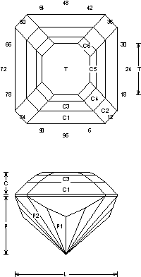
Astor Star (MC63.JRG)
By Jeff R. Graham
Copyright 2002
89.2% Light Return
Angles for R.I. = 1.54
49 facets + 8 facets on girdle = 57
4-fold, mirror-image symmetry
96 index
L/W = 1.000 T/W = 0.472 T/L = 0.472
P/W = 0.537 C/W = 0.202
H/W = (P+C)/W+0.02 = 0.759
P/H = 0.708 C/H = 0.266
Vol./W^3 = 0.339
Addition # 7 - This is my take on an old fashioned square emerald cut. This works very well in almost any material but particularly well in light colored materials. Cut this in refractive indexes 1.54 to 2.14 with no changes…
![]()
Random - Cosine - ISO
Detailed faceting instructions by Jeff Graham available at The Rock Peddler
Related Articles

Rose Quartz Value, Price, and Jewelry Information

Ametrine Value, Price, and Jewelry Information

Amethyst Gem, Price, and Jewelry Information

Citrine Value, Price, and Jewelry Information
Latest Articles

800 Years of Mogok: A Celebration in Tenuous Times

What is the Average Gemstone Faceting Yield?

Pyroxmangite Value, Price, and Jewelry Information

How to Identify Emerald Simulants and Synthetics

Never Stop Learning
When you join the IGS community, you get trusted diamond & gemstone information when you need it.





