
Successful tips, details, and guide on Faceting Designs. A Faceting Design Diagram by Jeff R. Graham that presents various cuts, this one is called "Glider"
Quartz (Amethyst, Citrine, Ametrine, Smokey, Rose)

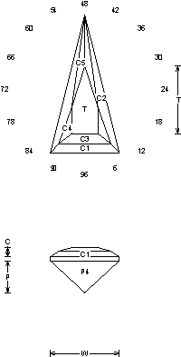
Glider (MC83.JRG)
By Jeff R. Graham
Copyright 2002
81.3% Light Return
Angles for R.I. = 1.54
12 facets + 3 facets on girdle = 15
1-fold, mirror-image symmetry
96 index
L/W = 1.866 T/W = 0.913 T/L = 0.489
P/W = 0.431 C/W = 0.127
H/W = (P+C)/W+0.02 = 0.578
P/H = 0.746 C/H = 0.219
Vol./W^3 = 0.257
Addition # 7 - This cuts fast and easy. It is a good idea to nick the corners a little bit so they are not too sharp. Cut in refractive indexes 1.54 to 1.73 (81%) with no changes. The L/W can vary with no problems…
![]()
Random - Cosine - ISO
Detailed faceting instructions by Jeff Graham available at The Rock Peddler









When you join the IGS community, you get trusted diamond & gemstone information when you need it.

Quartz (Amethyst, Citrine, Ametrine, Smokey, Rose)

Glider (MC83.JRG)
By Jeff R. Graham
Copyright 2002
81.3% Light Return
Angles for R.I. = 1.54
12 facets + 3 facets on girdle = 15
1-fold, mirror-image symmetry
96 index
L/W = 1.866 T/W = 0.913 T/L = 0.489
P/W = 0.431 C/W = 0.127
H/W = (P+C)/W+0.02 = 0.578
P/H = 0.746 C/H = 0.219
Vol./W^3 = 0.257
Addition # 7 - This cuts fast and easy. It is a good idea to nick the corners a little bit so they are not too sharp. Cut in refractive indexes 1.54 to 1.73 (81%) with no changes. The L/W can vary with no problems…
Random - Cosine - ISO
Detailed faceting instructions by Jeff Graham available at The Rock Peddler